1. Dit product is een stageverslag speciaal voor slurrypomp, die is ontworpen en vervaardigd door het gemiddelde dat technologie combineert die uit Duitsland wordt geïntroduceerd en de huidige geavanceerde technologie in ons bedrijf. Daarom is de serie versnellingsbak perfect in prestaties, betrouwbaar in werking en handig in onderhoud.
2. Onze versnellingsbak is ontworpen met een integraal behuizing, die ook als frame kan worden gebruikt. Het heeft dus in perfecte stijfheid en compacte structuur. In vergelijking met een slurry-pompsysteem dat pneumatische buiskoppeling aanbrengt, heeft dit systeem de voordelen van kortere axiale lengte en meer economisch.
3. Stuwkrachtlagers met grote capaciteit worden gebruikt om een grotere trekkracht te dragen van de slurrypompsporder.
4. Het past het hydraulische systeem van het buis-type toe, wat handig is in onderhoud. En de hogedrukololijn maakt gebruik van slang om het geluid in versnellingsbak veel te verminderen.
Op voorwaarde dat de Dredger -versnellingsbak moet worden bediend en correct moet worden onderhouden volgens de handleiding, zal deze betrouwbaar werken voor een behoorlijk lange termijn. Neem voor speciale eisen rechtstreeks contact op met de ontwerper.
| 1. | Bijpassend scheepstype: | Dedgers van alle soorten (ook voor slurry transport op het land) |
| 2. | Transmissiemodus: | Spiraalvormige cilindrische versnelling, twee schachten en twee versnellingen |
| 3. | Koppelingstype: | Hydraulische, natte, multi-plaat wrijvingskoppeling |
| 4. | Middenafstand: | 360 mm |
| 5. | Verhouding: | 2.2 ~ 4 (kan worden bepaald op daadwerkelijk verzoek) |
| 6. | Invoerkracht: | 1060 kW (vermogen en snelheid kunnen worden bepaald, afhankelijk van de werkelijke situaties) |
| 7. | Inputsnelheid: | 1300 ~ 1800 tpm |
| 8. | Rated Trans. koppel | 0,7 kW/rpm |
| 9. | Rated stuwkracht van waaier: | 15 t |
| 10. | Rotatierichting: | Input -uiteinde (gerichte ingangas): met de klok mee Uitgangsuiteinde (gerichte uitgangsas): met de klok mee |
| 11. | Mechanische efficiëntie: | ≥98% |
| 12. | Betrokkenheidstijd: | 2s - 6s |
| 13.1 | Werkende oliedruk: | 1.5 - 1.63 MPA |
| 13.2 | Lub. oliedruk met normale snelheid: met stationair snelheid: |
0,2 - 0,4 MPa ≥0,05 MPa |
| 14. | Oliemerk: | HC-11, HQ-10 of SAE30 (vrij van EP Addictive) |
| 15. | Oliecapaciteit: | ~ L |
| 16. | Lub. olietemperatuur: | 40 –60 ℃ |
| 17. | Max. olietemperatuur: | ≤80 ℃ |
| 18. | Consumptie van koelwater: | ≥5 t/h |
| 19. | Koelwatertemperatuur: | ≤32 ℃ |
| 20. | Verlovingssnelheid | ≤60% van het nominale motortoerental |
1. Algemeen
Dit Dredger-versnellingsbaksysteem is een reductiebox met één fasen voor de slurrypomp, met ingangs- en uitgangsassen verticaal gerangschikt. Omdat het mechanisme speciaal is ontworpen om de slurrypomp aan te dringen, is de moordpompbehuizing verbonden met versnellingsbakbehuizing met bouten en slurrypomprotor die direct op de uitgangsdrijfas is gemonteerd. De versnellingsbak is geschikt voor niet alleen allerlei droedgers, maar ook slurry transport overland en direct rijdende waterpomp.
2. Structuur van elke assemblage
(2. 1) Invoerasassemblage:
De koppeling van de koppeling is krimpfit op de invoerschacht; De koppelingsdrager is gesplitst verbonden met het aswiel dat wordt ondersteund door twee conische rollagers.
Er zijn twee gaten van de olievoorraad aan de achterkant van de ingangsas, een voor hydraulische olie en de andere voor smeerolie. In de groef aan de achterkant van de as is een afdichtring (met originele axiale dikte van 3. 4 mm) ontworpen voor oliedichtheid. Als het wordt versleten tot een dikte van minder dan 2. 8 mm, moet deze worden vernieuwd.
(2. 2) Uitgangsasconstructie:
Het uitgangsversnelling en de uitgangsas zijn krimpfit. Een stuwkrachtlager is ontworpen om te stoten. Aan het uiteinde worden een O-ring en asbestverpakking gebruikt om af te dichten.
(2. 3) Woonassemblage:
De versnellingsbakbehuizing bestaat uit bovenste en onderste delen. Het onderste deel is afzonderlijk gegoten en heeft een perfecte stijfheid met veel ribben die erop zijn verdeeld.
(2. 4) Piping -assemblage:
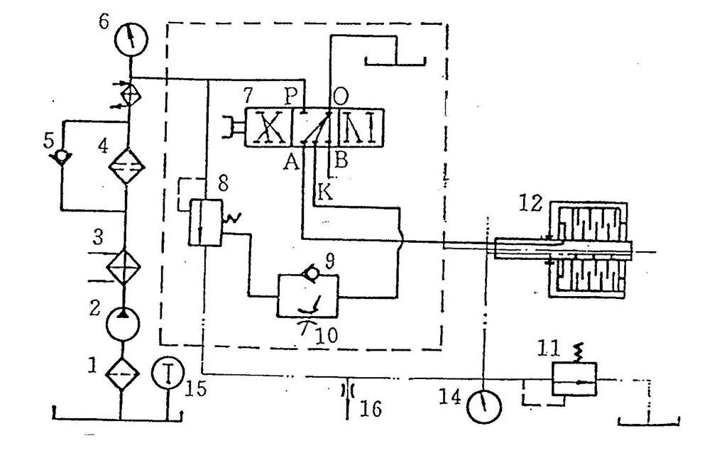
Olie gaat van zuigopening naar oliepomp, filter, tweefasige klep, koeler en vervolgens naar elk smeerpunt of koppeling.
Toen de motor begon, begint de oliepomp 2 te werken. Oil from sump through prefilter 1 is compressed and transmitted to cooler 3 and secondary filter 4. After cooled and filtered, one part of the oil leads to cylinder of ahead clutch 12 via reversal valve 7 and the other part overflows at working pressure valve 8. Most of the overflow oil runs along the lubrication oil passage to lubricate each bearing and take heat produced at clutch 12 and 13 and then lubricated driving gear and transmission gear via Nozzle pijp 16. De overbodige smeerolie keert terug naar de oliebus door lub. Drukklep 11. Als het secundaire filter 4 wordt belemmerd, kan olie uit de by-pass klep 5 lopen.
Hydraulisch systeemdiagram
1. Voorfilter 2. Oliepomp 3. Koeler 4. Secundair filter
5. BY-PASS KLEP 6. Werkstructmeter 7. Omkeerventiel
8. Werkdrukventiel 9. Bekleedklep 10. Gasklep
11. LUB. Drukventiel 12. Ahead Clutch 13. Lub. rutometer
14. OLIE THERMOMETER 15. NOTZERZERGEPEN
Wanneer omkeerklep 7 zich op de stoppositie bevindt, kan hydraulische olie niet worden gecommuniceerd naar boringen A, B en K. Olie in cilinder van koppeling 12 en bij werkklep Vertraging-contrage-contrage-rendement van boringen A, B en K naar olievrek door de omkering door de omkering door de omkering
ventiel. Op dit moment, de veer in de werkdrukklep 'komt thuis' en de systeemdruk is relatief laag als de initiële oliedruk (0. 3-0. 6MPa).
Wanneer de klep zich op de engagementpositie bevindt, komt geperste olie in de cilinder van Aard -koppeling 12 door de boring A om de koppeling vooruit te maken. Ondertussen gaat de olie door boring k en controleren de gasklep 9 en voert het de controle-uiteinde van de werkdrukklep in om de veer te comprimeren, waardoor de werkolie wordt vertraagd tot gespecificeerde waarde (1,9-2. 2mpa).
De openinggrootte van de gasklep 10 kan worden aangepast. Wanneer afgeleverd, wordt de boeiende tijd ingesteld als 2-4s. En normaal gesproken niet zelf schroeven.
Werkdruk kan worden gelezen op de drukmeter.
1. Op voorwaarde dat de correcte installatie en bediening volgens de servicegede zijn, kan de versnellingsbak voor een vrij lange periode betrouwbaar worden uitgevoerd, met de revisie gedurende 10.000 uur.
2. De versnellingsbak wordt geleverd met anti-rust oliën van kracht gedurende 12 maanden vanaf de datum van levering. Als het voor een lange periode wordt opgeslagen of niet meer hardlopen, moet het worden geïnspecteerd en tijdig worden gehandhaafd.
3. Nadat de versnellingsbak gedurende de eerste 50 uur wordt uitgevoerd, reinigt u de filterpatroon en de voorlek en verandert u schone olie. Hierna, onderhouden volgens de regels die zijn gespecificeerd in "onderhoudsitems".
4. Om de versnellingsbak in de juiste omstandigheden te laten werken, kunnen regelmatig inspectie en onderhoud als volgt worden geregeld:
(1) Dagelijks onderhoud ACC. naar klasse 1 items
(2) Elke 1000H onderhoud ACC. naar klasse 2 items
(3) Elke 5000H onderhoud ACC. naar klasse 3 items
(4) Elke 10000H onderhoud ACC. naar klasse 4 items
| Nee. | Beschrijving | 1 | 2 | 3 | 4 |
| 1 | Controleer het oliepeil in de versnellingsbak | Ö | |||
| 2 | Schoon buiten de versnellingsbak | Ö | |||
| 3 | Controleer eventuele abnormale ruis | Ö | |||
| 4 | Controleer elke lekkage van olie of water | Ö | |||
| 5 | Schoon filter | Ö | |||
| 6 | Schone werkklep | Ö | |||
| 7 | Controleer oliafewijzingen op olie-in punt | Ö | |||
| 8 | Controleer de nauwkeurigheid van de montage van invoerkoppeling en high-flexibele koppeling en motorvliegwiel | Ö | |||
| 9 | Controleer de nauwkeurigheid van de montage van uitgangskoppeling en verbindingsschroeven | Ö | |||
| 10 | Verwijder de bovenafdekplaat, draai en controleer tandwielen en klauwen | Ö | |||
| 11 | Controleer en vernieuw olie | Ö | |||
| 12 | Check oil pump | Ö | |||
| 13 | Controleer en schoon koeler | Ö | |||
| 14 | Controleer (of vervang) invoer- en uitvoer behuizing afdichtingen | Ö | |||
| 15 | Controleer wrijvingsschijven en afdichtringen | Ö | |||
| 16 | De behuizing ontmantelen, controleren (of vervangen) elke lager | Ö | |||
| 17 | Reinig elk deel van de versnellingsbak en de olievoorgang | Ö |
| Nee. | Problemen | Oorzaken | Remedies |
| 1 | Trillingen van versnellingsbak | 1. Lage installatienauwkeurigheid 2. Loose ingang en uitgangskoppelingsschroeven of bouten van belbehuizing en supporter 3. Torsiere trillingen |
1. Vermogen Acc. naar de handleiding 2. Draaien 3. Vermijd resonerende snelheid |
| 2 | Nee, te lage of onstabiele oliedruk | 1. Gekleurde oliepomp 2. Laag oliepeil 3. Luchtzuiging in de inlaatpijp 4. Gedaagde oliedrukmeter 5. Motine roterende richting die niet overeenkomt |
1. REPAAR OF REVEN 2. Voeg olie toe 3. Draai de bouten aan 4. Vervangen 5. Controleer en lost Acc. naar handleiding van oliepomp |
| 3 | Te lage hydraulische druk | 1. Gekeed vertraging door het throttling gat 2.Obstructed zuiger 3. Onvoldoende voorjaarskracht |
1. 2. Verdreiging en reparatie 3. Verkeer de veer of voeg sluitringen toe |
| 4 | Onstabiele lub. oliedruk | Belemmerd lub. olieklep kern | Schoon en repareren |
| 5 | Koppeling uitglijden | 1. Too lage of onstabiele oliedruk 2. Werk wrijvingsschijven uit 3. Gecontroleerde oliebaan of versleten afdichtingsring |
1. Verwijst naar nr. 2 en 3 2.Renew 3. Controleer de olieweg of vervang de afdichtingsring |
| 6 | Overmatige olietemperatuur. | 1. Gluitglippen 2. Gechookt in koeler of onvoldoende koelwater 3.TO High Oil -niveau 4. Gedaagde lopende onderdelen zoals lagers, stuwkrachtringen etc. 5. Oil verouderd |
1. Verwijst naar nr. 5 2.Clean koeler, verhoog de koelwaterstroom 3. Vul Oil Acc. naar DipStick 4. Verklaar beschadigd deel 5. Vernieuw olie |
| 7 | Lekkage van water of olie | 1. Beschadigde afdichtingen 2. Gedaadschreven afdichtingsgezicht of onzuiverheid gemengd 3. Losed schroeven op faying face |
1. Vervang de afdichting 2. REPAIR DEKENDE FIONT EN VERSLAAG VERSLAGENDE GOM 3. Draai de schroeven vast |
| Nee. | Beschrijving | Tekening nr. | Qty | Opmerkingen |
| 1 | Voerflens in | JL360-017 | 1 | 17 |
| 2 | Schroef | JB/ZQ4444-86 | 1 | 18 |
| 3 | Snapring | GB/T894.1-86 | 1 | |
| 4 | Handelswijze | 224 | 1 | 29 |
| 5 | Moer | JL360-021 | 1 | 21 |
| 6 | Schotplaat | JL360-030 | 1 | 30 |
| 7 | Cilinder | JL360-020 | 1 | 20 |
| 8 | Zuiger | JL360-035 | 1 | 35 |
| 9 | Ring | 4451 | 1 | 36 |
| 10 | Snapring | S52029-451 | 1 | 32 |
| 11 | Ring | 4432 | 1 | 34 |
| 12 | Snapring | S52029-458 | 1 | 33 |
| 13 | Invoeras | JL360-022 | 1 | 22 |
| 14 | Sleutel | GB/T1567-79 | 1 | 23 |
| 15 | Hexmoer | DIN6915A HV10 | 32 | 43 |
| 16 | Bout | JL360-042 | 16 | 42 |
| 17 | Koppeling | JL360-044 | 1 | 44 |
| 18 | Ex. Wrijvingsschijf | 3/0530/0034/1 | 9 | 37 |
| 19 | In. Wrijvingsschijf | 3/0539/0046/2 | 9 | 40 |
| 20 | Stootplaat | JL360-041 | 1 | 41 |
| 21 | Lente | 410-021-215 | 9 | 24 |
| 22 | Koppeling | JL360-038 | 1 | 38 |
| 23 | Handelswijze | 42520e | 1 | 11 |
| 24 | Koppelingsflens | JL360-082 | 1 | 82 |
| 25 | Olie-in spacer struik | JL360-008 | 1 | 8 |
| 26 | Handelswijze | 32226 | 1 | 7 |
| 27 | Invoeras tandwiel | JL360-006 | 1 | 6 |
| 28 | Handelswijze | 32228 | 1 | 5 |
| 29 | O-ring | GB/T3452.1-82 | 2 | 19 |
| 30 | Olie-in transas | JL360-009 | 1 | 9 |
| 31 | Handelswijze | 111 | 1 | 4 |
| 32 | Afdichtingsring | 300-01-016 | 2 | 3 |
| Nee. | Beschrijving | Tekening nr. | Qty | Opmerkingen |
| 1 | Snapring | GB/T894.1-86 | 1 | |
| 2 | Draaiwiel | JL360-045 | 1 | |
| 3 | Klier | JL360-052 | 1 | |
| 4 | Lente | NB170-017 | 8 | |
| 5 | Handelswijze | 903942E | 1 | |
| 6 | Spacer | JL360-056 | 1 | |
| 7 | Handelswijze | 3053730 | 1 | |
| 8 | Spacer struik | JL360-058 | 1 | |
| 9 | Ronde noot | JL360-1-077 | 1 | |
| 10 | Drukplaat | JL360-060 | 1 | |
| 11 | Handelswijze | 39434E | 1 | |
| 12 | Drukplaat | JL360-062 | 1 | |
| 13 | Versnelling | JL360-064 | 1 | |
| 14 | Sleutel | GB / T1096-79 | 1 | |
| 15 | Outputas | JL360-047 | 1 | |
| 16 | Handelswijze | 3003740 | 1 |
| Nee. | Beschrijving | Tekening nr. | Qty | Opmerkingen |
| 1 | Bovenste behuizing | JL360-054 | 1 | 54 |
| 2 | Bout | GB/T5782-86 | 2 | 83 |
| 3 | Bout | GB/T5782-86 | 6 | 78 |
| 4 | Pin | GB / T118-86 | 2 | 73 |
| 5 | Bout | GB/T5783-86 | 12 | 70 |
| 6 | Beather Set | 120C-04-000 | 1 | 63 |
| 7 | Bout | GB/T5783-86 | 16 | 74 |
| 8 | Dekplaat | JL360-075 | 2 | 75 |
| 9 | Pakking | JL360-076 | 2 | 76 |
| 10 | O-ring | GB/T3452.1-82 | 1 | 80 |
| 11 | Pin | GB/T119-86 | 2 | 31 |
| 12 | Bout | GB/T5783-86 | 4 | 67 |
| 13 | Splitafdichtingsdeksel | JL360-066 | 1 | 66 |
| 14 | Verpakking | 15,9 × 15.9 | 1 | 81 |
| 15 | Moer | GB/T6170-86 | 4 | 68 |
| 16 | Bout | GB/T5783-86 | 16 | 50 |
| 17 | Oliebaffle mouw | JL360-002 | 1 | 2 |
| 18 | Distributeurblok | JL360-001 | 1 | 1 |
| 19 | Bout | JB/T1000-77 | 2 | 13 |
| 20 | Koperen wasmachine | Q20-03 | 2 | 14 |
| 21 | Lagere behuizing | JL360-012 | 1 | 12 |
| 22 | Moer | GB/T6170-86 | 6 | 77 |
| 23 | Oliedichting | GB/T9877.1-88 | 2 | 46 |
| 24 | Grote eindbedekking | JL360-015 | 1 | 15 |
| 25 | Bout | GB/T5782-86 | 10 | 69 |
| 26 | Verpakking | 9,5 × 9.5 | 1 | 27 |
| 27 | Input split afdichtingsdeksel | JL360-026 | 1 | 26 |
| 28 | O-ring | GB/T3452.1-82 | 1 | 25 |
| 29 | Pin | GB/T120-86 | 2 | 19 |
| 30 | Bout | GB/T5782-86 | 6 | 16 |
Ⅰ. Moment van traagheid
I1. Voer flens en onderdeel van de invoeras in.
I2. Cilinder, zuiger, koppelingsdrager, interne wrijvingsschijven, olie-in as en een deel van de inputas.
I3. Koppeling behuizing, koppelingsflens, externe wrijvingsschijven en onderdeel van de ingangswandeling.
I4. Onderdeel van het ingang van de inputschacht.
I5. Uitgang versnelling en deel van de uitgangsas.
I6. Onderdeel van de uitgangsas.
Ⅱ. Torsiestijfheid
C1. Invoeras
C2. Invoeras tandwiel
C3. Outputas
Ⅰ. Moment van traagheid
| Code | Verhouding | Moment van traagheid |
| i | I (kg · ㎡) | |
| I1 | 2. 56 | 0. 9137 |
| I2 | 2. 56 | 1. 1786 |
| I3 | 2. 56 | 3. 9177 |
| I4 | 2. 56 | 0. 2862 |
| I5 | 2. 56 | 9. 734 |
| I6 | 2. 56 | 0. 729 |
Ⅱ. Torsie -veerstijfheid en asdiameters
| Code | Verhouding | Torsie -lentestijfheid | Asdiameters |
| i | C (10 n · m/rad) | D (mm) | |
| C1 | 2. 56 | 5. 18 | 110 |
| C2 | 2. 56 | 12. 66 | 130/45 |
| C3 | 2. 56 | 9. 79 | 150 |
Opmerking:*1 absolute waarde, geen waarde omzetten
*2 holle schacht
Adres
Nr. 148 Dongfeng Village, Xiaoshan District, Hangzhou City, provincie Zhejiang, China
Tel
E-mailen